
一、項目概況
根據馬鞍山市配網運維現狀及相關標準文件規范,需設計一套智能運維信息化管理平臺,以滿足各縣配網調度管理、日常巡檢、事故搶修和數據分析等業務需求。
力控科技為客戶設計的方案充分考慮電力數據安全,使用linux系統作為數據服務基礎、使用專網VPN作為數據傳輸鏈路、使用獨立手機作為運維信息終端,打造一套集數據化、智能化和移動化于一身的配網運維管理平臺計算機系統。
二、項目架構

三、建設成果
配網遠程設備管理平臺的設計包括兩個部分:主站平臺和移動運維終端。主站平臺作為整個管理平臺的核心,需要和現場通訊管理裝置(CMU)設備進行通信,同時也需要和移動運維終端通信。鑒于其安全的重要性,主站平臺的操作系統就使用安全系數更高的Linux 操作系統。
系統設置采集服務器、數據服務器和應用服務器來作為整個遠程設備管理平臺的部署核心。通過設置數據服務器安裝pSpace Plus數據庫軟件作為整體平臺的原始數據采集歸檔中心,通過采集服務器將CMU所匯總的數據都采集到數據服務器中,平臺應用軟件部署在應用服務器上用于提供整個平臺業務功能模塊的運行。
平臺的調度中心設置大屏用于整體展示整個平臺的運行數據,設置工程師站用于對系統的功能維護和增刪,設置操作員站來整體調度整個遠程設備的運維管理。
手機APP客戶端通過外網訪問運維平臺,在運維平臺和外網之間架設電力認證專用防火墻,保證手機端訪問權限的設置,保證主站平臺的安全。
本次馬鞍山市配電運維平臺項目提高了供電能力和供電可靠性,提升了運行管理水平和服務能力,是力控科技在智慧運維領域的又一次成功應用。
四、項目展示
根據設計,調度人員、管理人員采用以主站平臺為主,移動運維平臺為輔的模式。參考調度人員和管理人員在工作上的使用要求,主站平臺的主要功能是對人員、設備、數據進行調度管理。其他人員則以移動端為主,并同步和主站平臺溝通使用。
平臺展示

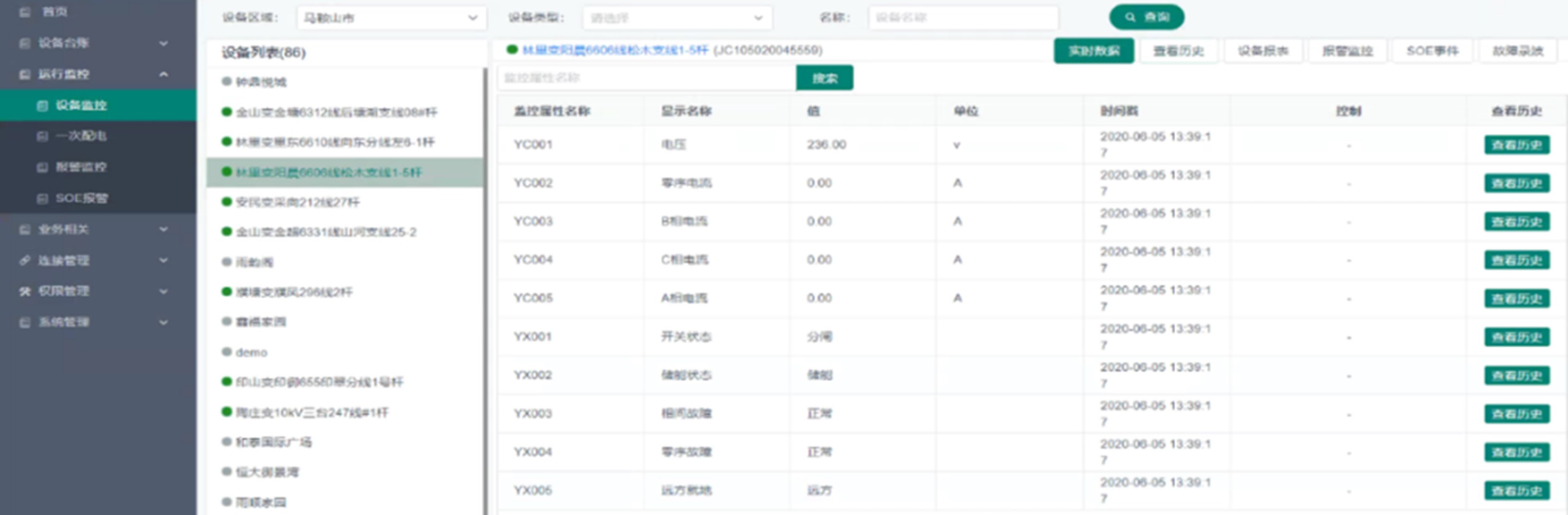
實時數據
設備數據可以實時顯示數據、每一條數據均帶有名稱、描述、實時值、單位、時間戳。

查看歷史
可根據用戶需求自由調整時間段進行歷史查詢,歷史查詢可以對數據分為歷史趨勢查詢和歷史列表查詢,列表查詢可導出Excel。

設備報表
設備報表可以對設備所有參數進行分時段查詢、時間間隔單位可分為秒、分、時、日,具體時間用戶可自由調整,具備導出表格功能。

設備報警
設備報警分為實時報警和歷史報警,已經恢復的報警將進入歷史報警界面。提供報警確認處理功能,可上傳圖片、音頻、可填寫確認內容。

SOE事件
查看該設備的SOE事件記錄。

故障錄波
查看該設備的故障錄波文件,支持下載故障錄波文件功能。

關聯大屏可視化制作的一次圖,集中監控整條線路中所有設備的實時狀態、實時數據。頁面支持放大、縮小功能,可更加直觀的了解現場設備、線路的情況。

